Газовый инжектор Громыко (GIG)
- 13 Dec 2025
- Автотранспорт
- 353 Прочтений
- 0 Комментариев
Автотранспорт III тысячелетия
Карбюраторные (механические системы эжекторного типа), инжекторные с детерминированной программой работы (без обратной связи по выхлопным газам), инжекторные с обратной связью по выхлопным газам - это три класса систем питания двигателей внутреннего сгорания (ДВС) с искровым зажиганием. Они существенно отличаются друг от друга и по устройству, и по степени загрязнения окружающей среды. Топливом для этих систем служит бензин или газ (пропанбутан, метан). По России ныне бегает более 90% автомобилей с карбюраторными бензиновыми системами и лишь 10% - с инжекторными, да и то больней частью иностранных.
Все газобаллонные системы (в том числе и зарубежного производства) относятся к 1-му классу, т.е. - карбюраторного типа. Устанавливаются они на инжекторные бензиновые двигатели и снижают класс автомобиля по качеству состава выхлопных газов. Такое авто при работе на газе - не инжекторное.
Массовое переоборудование бензиновых двигателей на газ с использованием отечественных и зарубежных газобаллонных систем механического “карбюраторного” типа приводит к ухушению экологии. Так как при разработке двигателя тщательно доводится до него свой карбюратор. Чего не скажешь о газобаллоной механической топливной системе того же типа - она устанавливается на различные двигатели, а средства и возможности ее настройки ограничены.
Органы эксплуатации автомобилей (ГИБДД) не имеют средств и методик оценки качества выхлопа газобаллонных автомобилей при нагрузке на двигатель. Что и дало зеленый свет потоку к нам устаревших иностранных газобаллонных систем, не обеспечивающих даже заниженные российские экологические требования по эксплуатации автомобилей.
Газовое топливо способно конкурировать с бензинным по обеспечению экологии и противостоять нашествию иностранного и отечественного газосистемного барахла только при внедрении инжекторных систем 2-го и 3-го классов. Ниши этих систем еще недавно были свободны.
Занять их удосужилась фирма “ГИГ Инжиниринг” разработкой и освоением серийного производства газовых инжекторных систем GIG (главный конструктор П.С. Громыко). Они предназначены для двигателей внутреннего сгорания грузовых и легковых автомобилей с общим объемом цилиндров до 7 литров и общим числом цилиндров до 8.
Рис. 1. Схема инжекторной системы дозирования газового топлива: 1 - катушка зажигания; 2 - испаритель; 3 - ЭМК газа; 4 - электронный блок управления; 5 - пульт управления; 6 - ЭМК бензина; 7 - карбюратор; 8 - впускной коллектор; 9 - двигатель; 10 - датчик температуры; 11 - λ-зонд; 12 - инжектор газовый; 13 - подвод разряжения; 14 - редуктор дифференциальный
В отличие от энжекционных устройств - редукторов низкого давления, которыми газ подается при близком к атмосферному давлении в полость карбюратора над дроссельной заслонкой, инжекторные устройства нагнетают газ во впускной коллектор под значительно большим давлением (0,1-0,2 МПа). Дозирование газа осуществляется за счет изменения времени возвратно-поступательного движения специального газового клапана - инжектора 12 (рис.1)
Принцип управления подачей газа близок управлению подачей топлива в системах впрыска бензина. Рассмотрим инжекторную систему подачи газа на примере ГИГ-3, рассчитанную для работы ГНС.
Газовым инжектором 12 управляет сигнал, поступающий от электронного блока 4. В свою очередь, электронный блок получает информацию о работа двигателя: оборотах двигателя с катушки зажигания 1 и дополнительно о составе смеси от 11-зонда 13.
Помимо этого информация о нагрузке на двигатель поступает на дифференциальный редуктор 14 в качестве разрежения на впускном коллекторе. Разрежение также косвенно дает информацию о расходе воздуха, поступающего в двигатель. Таким образом, дифференциальный редуктор совместно с инжектором 12 также участвует в управлении подачей газа в двигатель.
Газ из баллона поступает сначала в испаритель 2 и затем в дифференциальный редуктор 14.
Рис. 2. Редуктор дифференциальный: 1 - заглушка; 2 - крышка; 3; - пружина; 4 - кронштейн; 5 - полость разрежения; 6 - мембрана; 7, 9, 16, 19, 21 - диски; 8 - кольцо; 10 - полость низкого давления; 11- корпус; 12 - клапан; 13, 15 - штуцер; 14 - втулка; 17 - мембрана; 18 - обечайка; 20 - штуцер подвода разряжения; 22 - колпачок
Дифференциальный редуктор (рис. 2) изготовлен таким образом, что при движении автомобиля инерционные силы не оказывают влияния на его характеристики. Мембрана 7 выполнена из резинометаллического материала. Работой редуктора управляет разрежение из впускного коллектора двигателя, поступающее в л штуцер 20. Изменения разрежения во впускном коллекторе автоматически отслеживаются дифференциальным редуктором, который, в свою очередь, корректирует подачу топлива.
Газ поступает в редуктор через штуцер 13. Давление газа регулируется за счет перемещения клапана 12 на втулке 14. Втулка 14 находится под воздействием разрежения, передаваемого на мембрану 6, усилия пружины 3 и, с другой стороны, давления газа, оказывающего усилие на мембрану 17.
Давление газа понижается до заданного уровня 0,1- 0,2 Мпа, в полости 10, и затем он поступает к инжектору через штуцер 15. Регулировка давления выполняется вращением заглушки 1.
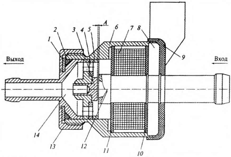
Рис. 3. Инжектор газовый: 1, 8 - шайба; 2 - кольцо уплотнительное; 3 - якорь; 4 - опора; 5 - кольцо регулировочное; 6 - корпус; 7 - обмотка катушки; 9 - крышка; 10, 11 - шайба электроизоляционная; 12 - сердечник со втулкой; 13 - гайка; 14 - штуцер
Газовый инжектор (рис. 3) - это быстродействующий электромагнитный клапан, корый по сигналу от электронного блока открыватся, и через него проходит доза топлива (газа). Открытие и закрытие клапана происходит синхронно с вращением коленчатого вала за счет воздействия магнитных сил сердечника 12 и якоря 3. Электромагнитный инжектор обеспечивает открытие отверстия для прохода топлива за 0,6 мс и закрытие за 2,0 мс и позволяет работать с частотой до 250 Гц.
Подача газа из инжектора производится непосредственно во впускной коллектор, что препятствует загрязнению карбюратора, улучшает наполнение цилиндров, снижает риск «обратного хлопка» в инжекторных автомобилях.
Электронный блок управляет системой таким образом, что при остановке двигателя немедленно прекращается подача газа. При включении зажигания газовый клапан кратковременно открывается, выдавая необходимую для запуска порцию газового топлива. При неработающем двигателе и включенном зажигании газовый клапан закрыт.
Рис. 4. Монтажная схема: 1 - дифференциальный редуктор; 2 - инжектор; 3 - испаритель; 4 - датчик температуры; 5 - катушка зажигания; 6 - датчик положения дроссельной заслонки; 7 - газовый клапан; 8 - датчик кислорода; 9 - блок управления; 10 - нейтрализатор; 11 - газопровод; 12 - газовый баллон
Электронный блок управления 4 (см. рис. 1) предназначен для обработки сигналов, поступающих с датчиков оборотов (катушки 1), температуры 10, и 11- зонда 11, управления работой газового клапана и газового инжектора. В электронном блоке размещены электронные схемы управления инжектором, газовым 3 и бензиновым 6 клапанами. При настройке электронного блока управления на автомобиле используется специальный тестер. Электронный блок управления устанавливается в салоне автомобиля.
Пульт управления 5 (см. рис. 1) предназначен для переключения режимов «газ-бензин» и регулировки длительности открытия форсунки. На переднюю панель блока выведены ручка потенциометра «тонкой» подстройки, переключатель газ-бензин и обеспечен доступ к разъему тестера и потенциометрам установки времени открытия инжектора.
Испаритель 2 предназначен для подогрева газа с помощью охлаждающей жидкости двигателя и испарения жидкой фазы пропан-бутановой смеси в газообразную. Точки его подсоединения аналогичны подсоединению редуктора низкого давления.
Преимущество газовых инжекторных систем - в их значительно меньших размерах, хороших экономических и экологических показателях при незначительном увеличении стоимости.
Подготовил А. Руденко









Letzte Kommentare
Artikel
Fotos
Eigene Seiten